□孙 曙




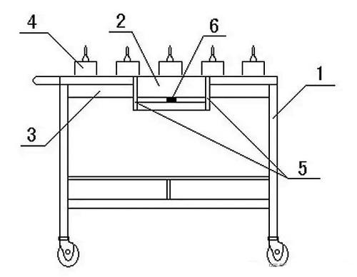
一些卧床的患者以及术后的患者均存在排尿不方便的问题。为此,笔者设计了移动式医用体外接尿装置,并获得了国家专利。 设计主要内容 该设计的目的是要提供一种结构简单合理、送取方便、适合医护人员夜间操作使用、不会影响其他患者休息的移动式医用体外接尿装置。该体外接尿装置包括移动式车体,设置在移动式车体上的照明灯,设置在移动式车体上的盛装槽体,设置在每个盛装槽体内的接尿器。 照明灯通过一个抽拉滑道被设置在移动式车体的一侧,照明灯的下面带有一个旋转轴,照明灯可沿旋转轴转动至适合的照明角度,所述的盛装槽体上带有5个接尿器盛装孔和盛装槽。接尿器由带有刻度标记的接尿壶体,接尿壶体上的接尿管连接在接尿管一端的男性或女性接尿口。 该体外接尿装置包括移动式车体(1),设置在移动式车体(1)上的照明灯(2),设置在移动式车体(1)上的盛装槽体(3),设置在每个盛装槽体(3)内的接尿器(4);所述的照明灯(2)通过一个抽拉滑道(5)被设置在移动式车体(1)的一侧,所述的照明灯(2)的下面带有一个旋转轴(6),照明灯(2)可沿旋转轴(6)转动改变照明的角度,所述的盛装槽体(3)上带有5个接尿器盛装孔(7)和盛装槽(8)。 (作者供职于中国医科大学四平医院) |